Dieses Board wird in High Speed 2: The Getaway (für den Beacon-Motor), CFTBL (für den Hologramm-Motor) und Hot Shot (Basketball-Einlösungsspiel) verwendet. Dieses Triac-Board wurde auch im System 11B-Spiel Whirlwind unter der Board-Nummer C-13088 verwendet. Es wurde zur Steuerung des Topper-Ventilators verwendet.
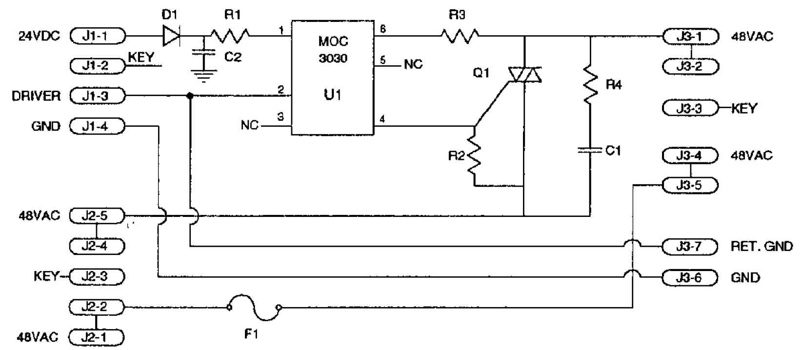
Da die Platine einseitig ist, sind gebrochene Lötstellen bei dieser Platine häufig ein Problem, insbesondere bei C1 aus irgendeinem Grund. Der andere Fehlerpunkt auf dieser Platine ist der Otpo-Isolator MOC 3031.

A-13088-2 Triac-Platine

A-13088-2 Triac-Board-Schaltpläne